合作客戶/
拜耳公司 |
同濟大學 |
聯合大學 |
美國保潔 |
美國強生 |
瑞士羅氏 |
相關新聞Info
-
> 拉脫法測量液體表面張力系數實驗原理、缺點及改進方法
> 表面張力對乙醇液滴沖擊過冷水平壁面的鋪展動力學行為的影響(三)
> 臨界表面張力、噴霧距離等對成熟期煙草農藥霧滴附著關鍵指標的影響——摘要、材料與方法
> 有機硅消泡劑作用原理、析出漂油的原因
> 基于粒徑、速度、表面張力、黏度測定揭示塵粒?霧滴碰撞行為規律(四)
> 腰果酚醛樹脂嵌段聚醚破乳劑表面/界面性能、油滴破裂速率常數測定(一)
> 超微量天平用于壓電微泵的性能系統測試
> 表面活性劑如何有效降低油水界面張力
> 生物表面活性劑產生菌的篩選及對PAHs污染環境的修復效果研究(二)
> 不同溫度下可溶解聚乙二醇低共熔溶劑的密度、電導率、表面張力等性質(二)
推薦新聞Info
-
> 藥液表面張力、噴霧方法對霧滴在水稻植株上沉積的影響(二)
> 藥液表面張力、噴霧方法對霧滴在水稻植株上沉積的影響(一)
> 烷基二苯醚/烷基苯混合磺酸鹽靜態表面張力、金屬腐蝕性及凈洗力測定(二)
> 烷基二苯醚/烷基苯混合磺酸鹽靜態表面張力、金屬腐蝕性及凈洗力測定(一)
> 全自動張力測定儀揭示子細胞表面張力對胞質分裂結局的主導作用(二)
> 全自動張力測定儀揭示子細胞表面張力對胞質分裂結局的主導作用(一)
> 煙道氣與正己烷對稠油表面張力的影響機制研究(三)
> 煙道氣與正己烷對稠油表面張力的影響機制研究(二)
> 煙道氣與正己烷對稠油表面張力的影響機制研究(一)
> 變化磁場、零磁場條件下磁性液體表面張力系數測定
表面張力對激光空泡脈動及潰滅特性的影響(一)
來源:中國激光 瀏覽 906 次 發布時間:2025-01-15
摘要采用兩套光偏轉測試裝置對不同表面張力液體中激光空泡脈動及潰滅特性進行了實驗研究,獲得了液體表面張力改變對固壁近旁空泡生長和潰滅過程的影響。結果表明,表面張力延緩了空泡的膨脹過程,加速了空泡的潰滅;表面張力對空泡潰滅的影響要強于對膨脹的影響;液體張力越大,空泡脈動周期越短,且空泡對應的最大泡半徑越小而收縮所能達到的最小泡半徑亦越小。此外,液體張力越大,射流所產生的瞬時沖擊力越大,即表面張力加強了液體射流對固壁的空蝕作用。研究結果可為水下激光加工、激光醫療、空化空蝕相關流體力學的研究提供一定的理論和實驗支持。
1引言
空泡研究是目前流體力學最活躍的領域之一。當一束高功率激光聚焦于水下靶材表面時,在聚焦區形成高溫高壓等離子體、沖擊波和空泡現象。空泡在內外壓差的作用下進行多次脈動,最終潰滅。固壁附近空泡的潰滅和反彈不僅會造成水泵葉片表面、船艦和潛艇螺旋槳表面以及控制管道和腔室中液體流動的閥門(包括人工心臟的閥門)表面的空蝕損壞,降低水力機械的性能,而且所產生的空化噪聲還會對軍艦和潛艇的安全造成危害。醫學中激光在人體組織中所產生的空泡潰滅時會對人體組織產生嚴重的裂損等不良影響,但結合有毒藥物的使用也會起殺傷癌細胞等的治療作用。此外,空泡潰滅時將形成局部的高壓高溫(可達1億度),這可為核武器的研制和可控熱核反應的研究提供一種新途徑。隨著科技的發展,不斷有伴隨空泡所發生的新的物理現象的發現,而弄清這些復雜物理現象的機制對流體力學科學的發展和實際應用都具有重要的意義。
空泡現象是高速運動的液體所特有的物理現象,它的初生與發展取決于許多復雜的因素,如液體的物性(包括蒸氣壓強、液體的表面張力大小、液體的密度、液體的壓縮性等)、液體的流速、液體的溫度等。張力是影響空泡膨脹(收縮)最后階段的重要因素,它將直接決定空泡的泡半徑、收縮周期和收縮的劇烈程度。目前,國內外很多學者對液體張力對空泡的影響進行了大量研究,但是研究主要集中在液體張力改變對射流和空蝕的影響。
在對空泡及空蝕效應的實驗檢測方面,文獻報道的非擾動診斷方法主要有高速攝影法、條紋攝像法、干涉法及光束偏轉法等。其中高速攝影法、干涉法和紋影法使空泡潰滅研究取得了很大進展,但存在造價昂貴、結構復雜等困難。本文采用兩套基于光偏轉原理的光纖傳感器,利用光纖作為位置敏感探測器來提高光束偏折探測系統的靈敏度,對空泡的整個運動過程和潰滅對固壁面造成的空蝕作用進行全面的研究。
2實驗方法
2.1實驗裝置
實驗裝置的主體部分如圖1所示,脈沖Nd∶YAG激光1(波長1.06μm,脈寬10ns,最大激光能量500mJ)經過分光鏡2,衰減片3和擴束裝置4,由會聚透鏡5(焦距150mm)聚焦于銅靶7上。水槽8里裝有具有不同表面張力的液體。能量計6用來實時監測入射激光的能量。實驗中靶面焦斑半徑為50μm.
圖1光偏轉實驗的主體裝置
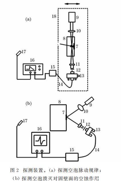
探測裝置由兩套基于光偏轉原理的光纖傳感器組成。該傳感器由HeNe激光器9,聚焦透鏡10,顯微物鏡11,干涉濾波片12,光纖調節器13,單模光纖14,光電倍增管15以及數字存儲示波器16等構成,分別如圖2(a)和(b)所示。圖2(a)為探測空泡脈動特性的實驗裝置,其中探測組件9——14被固定在二維可移動平臺18上,如圖虛框所示,該平臺沿靶面法線方向(圖示箭頭方向)移動精度為10μm.當一束高功率激光聚焦到水下靶材表面時,會在作用區產生等離子體、空泡和沖擊波等一系列現象。
圖2探測裝置。(a)探測空泡脈動規律;(b)探測空泡潰滅對固壁面的空蝕作用
當探測光束通過靶面焦點正前方與空泡或沖擊波相互作用時將產生微小的改變,原光束傳播方向也將發生偏轉,因此耦合進光纖傳感器的光強將減小。由于光通量的變化體現為光電流或電壓的變化,因此空泡泡半徑的演變可以從數字存儲示波器上的電壓變化反映;圖2(b)為探測空泡潰滅對固壁面空蝕作用的實驗裝置。在脈沖激光作用下,靶材作用點的背面將產生微小的錐形突起,因此光束反射時相對原有反射光路要偏轉一定的角度。當探測光束照在因激光作用而形成凸起的錐形上,且光斑中心與錐心重合時,反射光束變為一環形光斑,耦合進光纖的光通量會變小。因光通量的變化體現為光電流或電壓的變化,因此靶材所受力的變化可以從數字存儲示波器上的電壓變化來反映。該光纖傳感器的相關測試原理分別見參考文獻。本實驗觸發信號由光電二極管17(上升時間100ps)獲取激光反射光來實現。





